?

一、石油焦破乳劑性能與用途
石油焦破乳劑由高分子油基破乳劑、有機破乳助劑和極性溶劑復配而成。產品支鏈多,功能基團豐富,吸附捕捉能力強。能有效地改善油包水(W/O)或水包油(O/W)乳液的界面張力,使污水內的油或膠體顆粒失去排斥力及吸引力,從而失去穩定性,更進一步通過化學橋聯,使分散在污水中的石油焦油滴互相聚集而逐漸變大沉降。破乳性能優異,脫水脫鹽效率高、速度快、油水界面齊脫水性能好,脫后氨水油含量低,可以解決污水與石油焦的破乳分離問題。
二、石油焦破乳劑技術指標

適用于海綿鈦工藝沖洗葉輪污水的破乳脫鹽,主要用作污水中石油焦的分離。
四、石油焦破乳劑使用方法
1.將本產品泵入破乳劑儲罐中,用計量泵泵入需要破乳的葉輪沖洗水管道上,藥劑隨石油焦污水進入后續污水儲池進行破乳分離(也可以用小型計量泵直接從裝劑桶中注入到破乳劑管線上)。
2.破乳劑投加量1500mg/L左右,若葉輪沖洗水量比較大,可做濃縮液。
3.禁止與其它破乳劑復合使用,以免發生反應而堵塞管線。
4.輸送時可選用橡膠管等高分子材料。
1.使用塑料桶包裝,每桶凈重200Kg,或者使用塑料噸桶包裝凈重1000Kg。
2.本品應置于干燥、陰涼、通風處密閉常溫保存,有效期6個月。
3.其它信息請參閱MSDS 。
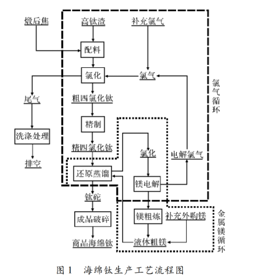
海綿鈦的生產工藝流程圖

石油焦破乳劑SGR 1713 適用于海綿鈦工藝沖洗葉輪污水的破乳脫鹽,主要用作污水中石油焦的分離。